网站地图
关于我们
网站首页
行业新闻
产品中心
汽车知识
车企动态
专题报道
关于我们
当前位置:
主页
>
行业新闻
行业新闻
中鼎墨西哥工厂开建,中国供应链企业的全球化进阶
598
行业新闻
2026-02-20 04:43:01
奇瑞iCAR V27量产车下线 将于2026年一季度上市
726
行业新闻
2026-02-20 04:43:01
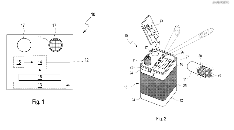
奥迪申请车载卡拉OK模块 实现边走边唱
576
行业新闻
2026-02-20 04:43:01
浩思动力上车吉利雷达金刚PHEV高性能皮卡 挑战复杂工况动力解决方案
614
行业新闻
2026-02-20 04:43:01
法拉利申请预测性控制系统专利 用预测算法估计空气动力学负载需求
771
行业新闻
2026-02-20 04:43:01
首页
上一页
75
76
77
78
79
下一页
末页