宜鼎国际全新GMSL2相机模组系列产品正式发布,支持最远15米低延迟视频传输,分辨率覆盖200万至1300万像素。产品集成HDR与LFM功能,在极端光照条件下仍能输出清晰稳定影像,IP67/IP69K高防护等级设计满足严苛环境应用需求。

理想汽车海外业务取得关键突破,短时间内连续进入埃及、哈萨克斯坦、阿塞拜疆等四个重要市场,完成中亚、高加索及非洲核心区域布局。通过多元化运营模式与本地化合作,品牌已建立起标准化销售服务体系,全球化进程进入实质落地阶段。

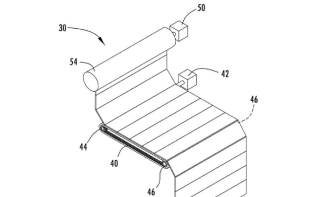
福特汽车公司申请了一项创新的乘客显示系统专利,该系统采用可卷曲的柔性显示屏设计,能像窗帘一样收纳展开。这项技术可为后排乘客提供娱乐功能,同时具备遮阳帘用途,展现了未来车内显示技术的发展方向。

比亚迪正式申请加入全球智慧物联网联盟,将与联盟共同推进人车家全场景互联标准制定。双方将在AI智能体层面协同创新,实现车规级鸿蒙设备与家用终端的技术接口统一,打造从底层打通车家边界的智慧生态。

科研人员成功研发出尺寸小于一毫米的自主微型机器人,配备内置计算机和传感器,无需外部控制系统即可独立工作。这一突破性技术解决了传统微型机器人依赖大型外部设备的难题,为未来医疗应用和精密操作开辟全新可能。
